春风送岗暖德州,精准就业启新程。为深入落实就业优先战略,全力稳就业、保民生、促发展,市人社局联合7部门,正式启动2026年德州市春风行动暨就业援助季活动。活动贯穿1月至3月底,共举办线上线下招聘会200余场,以精准服务架起就业供需“连心桥”,用暖心举措筑牢民生保障“压舱石”,切实把惠民政策落到实处、把便民服务送到身边。
活动亮点频频,赋能就业全链条,期待您的参与!
一、精准摸排,靶向施策有帮扶
深入开展企业用工摸排+求职者需求走访双行动,全面掌握企业用工缺口、技能需求,精准匹配失业人员、农村劳动者、灵活就业人员等重点群体求职意愿。建立“一人一档、一企一策”帮扶机制,让找岗不盲目、用工不缺人,实现供需精准对接。
二、千岗云集,更多行业广覆盖
全市范围内密集举办200+场次招聘活动,覆盖智能制造、现代物流、餐饮服务、教育医疗、电商直播、建筑施工、行政管理等数十个热门行业。岗位层级全覆盖,从普工技工、技能蓝领到管理岗、技术岗、应届就业岗,从全职到灵活就业,薪资待遇有保障、发展空间看得见,总有一款适配你的职业规划!
三、创新模式,服务触达更便捷
打破传统招聘时空限制,采用“线上+线下+移动式”三维服务模式。线下主阵地:各县市区常态化举办专场招聘会,人流集中、面对面洽谈;移动式招聘:将招聘展位前移至广场、商圈、乡镇集市,把“就业服务送到家门口”;线上云招聘:同步开启直播带岗、简历直投、岗位检索,足不出户就能找到好工作。
四、政策护航,暖心兜底有保障
活动现场特设就业政策咨询、创业扶持指导、技能培训帮扶、劳动维权咨询等多个服务专区。人社部门工作人员、职业指导师现场坐镇,免费解答劳动合同签订、社保缴纳、补贴申领等各类问题,通过“一对一”职业指导、“订单式”技能培训,助力重点群体稳就业、快就业、就好业,让求职之路更安心、更踏实。
五、区县联动,共同行动更暖心
各县市区结合地方产业特色,不定期举办“小而美、专而精”专场招聘会,聚焦本地支柱产业、特色行业,精准匹配本地人才需求。无论你在哪儿,家门口就能找到好工作,服务覆盖全市每一个角落。
温馨提示,求职者和用人单位可通过扫描二维码查看全部招聘会详细信息,也可关注各区县具体活动公告,查看最新动态。

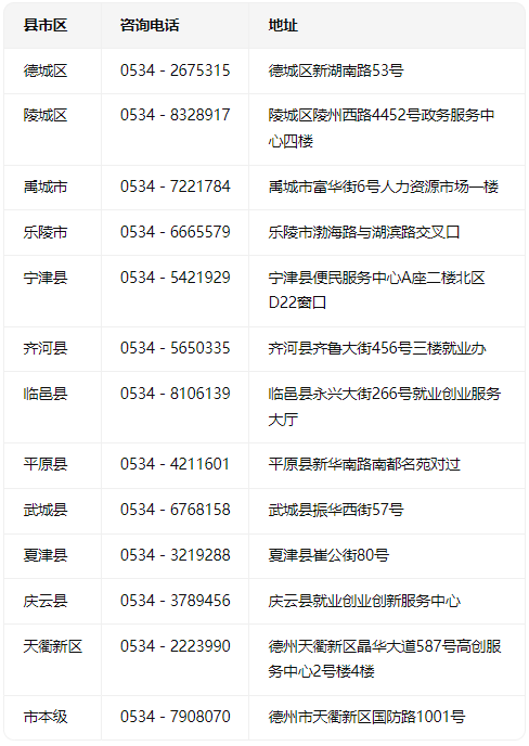
县(市、区)公共就业人才服务机构联系方式

德州日报新媒体出品
记者|王志冕 编辑|密霖
审核|张晓航 终审|朱代军